一、Pogo Pin的誕生
Pogo Pin
Pogo 英文直譯是翹翹板的意思,Pin 通常指針狀的小物體。Pogo pin 就是帶彈簧的有彈性的小針,簡稱彈簧針。
20 多年前惠普設計了第一款 pogo pin,而且注冊了商標,它用在惠普設計的打印機里面做板與板之間的信號連接,減少了線纜連接的麻煩,使連接更加簡單,也使內部電路更干凈清爽。
Pogo Pin彈簧針看似一個簡單的零件,但如果沒有一個有良好品質控制和完善的制造工藝水平,非常容易出現掉電和卡pin,或耐久性(壽命)過短問題。其工藝極其精細復雜,從車床加工,電鍍,組裝,每道工序都可能帶來嚴重的隱患。
Pogo pin車床加工方面,推薦用日本走芯自動車床加工,這樣零件精密度可以保證在 /-0.01mm內,可多數的工廠都是用走刀機加工,精度完全沒辦法保證。其二,車床加工的表面光潔度,尤其是針管的內表面光潔度非常關鍵。絕大多數工廠沒有表面粗糙度測試設備,根本沒有監管該重要參數。
Pogo pin電鍍工藝方面,鍍層的厚度對成本構成有巨大影響,質量好的的鍍金是16~20u”,可多數其他品牌都在1~2u”,差距很大。其次,孔內鍍金的品質對產品的電性能(動態阻抗)和機械性能影響也很大。
Pogo pin 組裝的工藝同樣重要。不良的組裝工藝可導致針頭歪斜,針高低長短差距過大,卡Pin,管口脫皮等嚴重問題
pogo pin 是一種應用于手機等電子產品中的精密連接器,廣泛應用于半導體設備中,起連接作用。
根據應用不同有不同外觀,但是整體上pogo pin 內部都有一個精密彈簧結構。該產品表面一般都鍍金,產品單價一般5毛至1塊左右。
頂針實現通電或是導通,大部分通過斜向下面與銅壁接觸,彈簧承擔少量,因此要求銅套內壁光滑。如POGOPIN工廠做成非斜切面,而是底部平整,大部分電流就要全部通過彈簧導通,對彈簧的要求就會很高。當然要保證電流突然增大的時候,出現的斷電現象。(這是我在實際使用過程的一點點心得)
Pogo pin是一種由針頭、彈簧、針管三個基本部件通過精密儀器鉚壓預壓之后形成的彈簧式探針,其內部有一個精密的彈簧結構。pogo pin的表面鍍層一般都鍍金,可以更好的提高它的防腐蝕功能、機械性能、電氣性能等。 Pogo pin 一般應用于手機、通訊、汽車、醫療、航空航天等電子產品中的精密連接,可以提高這些連接器的防腐蝕性、穩定性、耐久性。由于pogo pin是一個很精細的探針,所以應用在精密連接器中可以降低連接器的重量以及外觀的體積,可以讓連接器更加精細美觀。
二、Pogo Pin的制造工藝

三、Pogo Pin 產品規范
1.0 概述
此規范定義了 Pogo pin 系列產品的一般性能參數及測試要求。
2.0 要求:
2.1?外形尺寸
外形尺寸符合產品圖面要求。
2.2?材料和電鍍
Body 為黃銅合金,鍍鎳的外面覆蓋鍍金層,鎳層和鍍金層的厚度因應不同的使用 場合不同,但鎳層需大于 60uin, 鍍金大于 4uin。
Plunger 為黃銅合金,鍍鎳的外面覆蓋鍍金層,鎳層和鍍金層的厚度因應不同的使 用場合不同,但鎳層需大于 60uin, 鍍金大于 16uin。
Spring 為不銹鋼,也可為電鍍過的琴鋼線 塑膠為高溫尼龍加 30%玻璃纖維
3.0 參數
- 3.1?持續工作電流:?低于 2.5A
- 3.2?工作電壓:?低于 36V@25℃
- 3.3?使用壽命:?10000 次以上
- 3.4?工作溫度:?-40℃ 至 85℃ 90% R.H.Max.
- 3.5?儲存溫度:?-40℃ 至 85℃ 90% R.H.Max.
4.0 電性能
- 4.1?接觸阻抗:?工作行程內動態接觸電阻:小于30毫歐
- 4.2?絕緣阻抗:?帶塑膠的絕緣阻抗 在 500V DC 或者 AC 條件下持續一分鐘 絕緣阻抗 > 100MΩ
- 4.3?耐電壓:?500 VAC 1 分鐘 最大漏電流 0.3mA
5.0 機械性能
- 5.1?正向力:?工作點大于 60gf
- 5.2?保持力:?0.5kgf/pin
- 5.3?耐久性:?10000 次彈簧力保持在范圍內
- 5.4?耐振性:?15 分鐘 10~500HZ 振動頻率,1.2mm 振幅,不超過 1μ sec.掉 電,接觸阻抗< 100mOhm.
6.0 環境性能
- 6.1?熱沖擊:?-40℃/30Min. 85℃/30Min. 100 個循環 接觸阻抗 < 100 mOhm 無外觀損傷
- 6.2?耐溫濕性:?90 %R.H., 60℃, 500hours 的耐溫濕試驗后 絕緣阻抗>100MOhm, 接觸阻抗< 100mOhm. 無外觀損傷
- 6.3?鹽霧試驗:?5% 鹽溶液 48 小時 無銹蝕.
- 6.4?可焊性試驗:?260 5/-0℃ 5 0/-0.5 Second 濕焊覆蓋率 95%以上。
四、Pogo Pin 結構分析
針頭

斜面
為了保證針頭在工作時和針管100%保持接觸,我們把針頭和彈簧接觸的一端切成斜面。這種設計理念可以保證低的穩定的接觸阻抗,可以絕對保證產品的穩定導通。

反鉆孔
這種設計對小尺寸的連接器是最好的選擇。可以滿足客戶的彈力要求。這種設計的配套彈簧長度可以超過針管的長度,在空間受限的情況下,做反鉆孔的設計,便可以獲得穩定的彈力和行程。

平底
這種設計因針頭和針管結構上在某些狀況下會無法接觸,會導致電流無法走針管,管壁而會順著彈簧而走,就會導致電阻過大,使電壓大幅下降,導致電子產品瞬間斷電現象
針管
針管的設計,會配合客戶的結構空間和產品的功能要求以及壽命的保證來經行設計。可以提供普通及異性的設計供選擇。
彈簧

加工工藝:?精密電腦機加工,能很好的保證尺寸精度,精度可以達到0.02mm,產品壽命可以到10萬次以上。/
材質:?不銹鋼SUS304,琴鋼線。
成品
- 接觸電阻:動態接觸電阻小于30mΩ
- 絕緣阻抗:大于500MΩ
- 彈力:依客戶要求定制,范圍50~500克
- 尺寸精度:長度方向可以達到0.05mm.直徑方向可以達到0.01mm
- 使用壽命:1萬次以上
- 焊接方式:適用于表面貼片焊接、波峰焊、手焊。
五、彈簧針使用須知
1、Pogo Pin下壓量設計

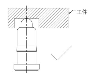
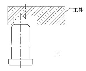
2、Pogo Pin對應接觸面設計


3、Pogo Pin鉚壓口防撞設計


4、Pogo Pin下壓方向設計




5、Pogo Pin焊接建議的溫度曲線

六、Pogo Pin廣泛應用
pogo pin 是一種應用于手機通訊,汽車,數碼相機等電子產品中的精密連接器,廣泛應用于手機天線,手機電池,POS機,對講機,打印機,筆記本電腦,數字電視,游戲設備,醫療設備,助聽器,藍牙耳機等領域。
產品廣泛應用到的領域:
- 1、 穿戴式設備,智能定位設備(智能手表,智能手環,藍牙耳機等),數據線,充電線磁吸線的線端連接。
- 2、 醫療設備,無線設備,數據通訊設備,電信設備,工業和自動化設備。
- 3、 航空,航天,軍工電子通訊。
- 4、 汽車車載導航。
- 5、 量測設備,數碼類產品。
- 6、 消費性電子(手機,電腦,照相機,打印機,PDA,藍牙耳機等)。
測量設備


PogoPin彈簧針掃碼關注我們